梦马论坛-以梦为马,不负韶华

搜索
查看: 4566|回复: 0
收起左侧

[原创] 储罐伞顶设计

[复制链接]
发表于 2018-10-17 08:37:15 显示全部楼层 |阅读模式
大型贮槽固定式储罐根据罐顶可以分为锥顶,拱顶,伞顶,网壳顶。

                               
登录/注册后可看大图

在国内的固定顶储罐的设计中,比较常用的是自支撑锥顶,以及自支撑的拱顶(带肋拱顶)。
网壳顶一般是有专门的网壳顶单位做设计以及制造。

                               
登录/注册后可看大图

伞顶(又名柱支撑式的锥顶)在国内的项目应用比较少,规范中只有少量的描述,比如在GB/T50341-2014第7.4节柱支撑式的锥顶,有一些比较常规的介绍。

                               
登录/注册后可看大图

伞顶按照API-650来设计,计算时可以采用TANK软件进行计算。



伞顶结构分析
柱支撑的主要结构有
支柱Column:将罐顶载荷传导到地面。
主梁Grider Ring:搭接在支柱上的梁,一般呈正多变形布置。
檩条Rafter:搭接在主梁上的型钢,一般在主梁之间,或者主梁与中心柱,主梁和壁板之间。





                               
登录/注册后可看大图

柱支撑的结构适用范围比较广,因为顶的载荷通过支柱传递到地面,相对于自支撑的结构将载荷传递到罐壁再到地面,受力要好很多。其顶部的坡度可以做到1/16,相当于平铺,所以顶板的板材利用率很高。费用也可以降低。
其图一般如下:



                               
登录/注册后可看大图


                               
登录/注册后可看大图



支柱,主梁和檩条的计算
其支柱,梁和檩条的计算应该如何考虑呢?
首先计算罐顶上的设计载荷,比如考虑外压,雪载,风载荷以及结构保温自重等等组合工况。假设其顶所受的均布载荷为P。
那么对于支柱来说,各支柱所承担的顶部的载荷面积A范围可以认为是在两支柱之间的中点所围成的面积上。
各支柱承受的最大载荷为F=P*A
支柱一般失效模式是轴向受压失稳。
许用的轴向力一般按照如下公式计算:

                               
登录/注册后可看大图

对于梁和檩条来说,计算模型均为受均布载荷的简支梁:

                               
登录/注册后可看大图

其计算是用梁的最大弯矩校核其抗弯模量是否足够。

                               
登录/注册后可看大图







其主梁和檩条的上的均布载荷按照梁或檩条所承载的载荷的一半来计算。
为了将梁和檩条的规格分别统一,一般按照保守的计算。计算最长的檩条和梁,使用大圆弧端的一半长度作为承载宽度。

                               
登录/注册后可看大图

上图阴影部分为此檩条的承载面积,将其面积上的总载荷计算出来,再除以檩条长度,即可得到檩条的均布线载荷。


为了避免出现超大的檩条,一般将檩条的长度限制在6000~7200mm之间。

                               
登录/注册后可看大图



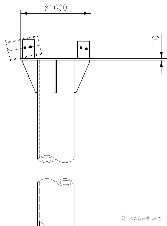
中心柱计算
对于中心支柱来说,一般中心的檩条都搭接在中心柱上。

                               
登录/注册后可看大图

俯视图如下

                               
登录/注册后可看大图

柱子上需要焊接圆板的托盘安放檩条。
檩条上的载荷均需要传递到中心柱上,托盘必须要用筋板加强。
而筋板加强的效果,常规是没法计算的。
所以在此区域一般做一个中心柱的分析。
从计算书中可以提取轴向压缩应力为202726N,支柱的尺寸为φ273.1×9.27mm,作用在连接板环形区域等效压力:Pe=F/A=4×202726/(15602-12402)/π=0.2881 MPa

按照图纸建立模型如下:

                               
登录/注册后可看大图




                               
登录/注册后可看大图

将檩条的均布载荷施加在环形面上,并在中心柱下端施加周向和垂直方向约束。

                               
登录/注册后可看大图

运算结果如下:

                               
登录/注册后可看大图

中心柱以及筋板合格。



                               
登录/注册后可看大图



文章来源:https://mp.weixin.qq.com/s/vDPNiGVFaIHuDM4y54xmMg

请勿灌水,请勿发布无意义纯表情或回复
您需要登录后才可以回帖 登录 | 注册

本版积分规则

手机版|Mammoth Forum - Ride on Dreams, Live Up to Youth

GMT+8, 2026-5-28 17:32

Powered by 梦马论坛-以梦为马,不负韶华

© 2024-2099 Meng.Horse

快速回复 返回顶部 返回列表